Foundational science that launched an era of medicine and continues to fuel what comes next.
Our Innovation Case Studies highlight recent and legacy translational success stories where breakthrough technologies were advanced from discovery to commercialization, improving patient outcomes worldwide. These examples showcase how strategic licensing, industry partnerships, joint ventures, and other collaborative models have transformed scientific innovation into viable products and therapies. Together, they reflect our commitment to bridging research and application—demonstrating how purposeful innovation, when paired with the right partners, can accelerate progress and create lasting global health impact.
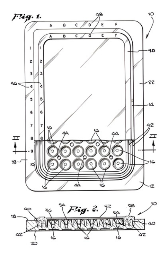
Our legacy in transplantation; the work of Dr. Paul I. Terasaki and the building of One Lambda (now Thermofisher Scientific)
The pioneer in transplant immunology that has ushered the modern age of transplantation
Translating Novel Technologies into Clinical Reality
Our legacy is defined not only by the past, but by the innovative technology and partnerships that continue to advance the field.


Dr. Terasaki started a company, One Lambda, to sell products and equipment used in microcytotoxicity testing.
The company was established from Dr. Terasaki's life insurance policy and it initially employed seven people.
In 2013, One Lambda was sold to Thermofisher for $1 billion .................................................. ........
Over the course of its 40-year history, One Lambda grew to include 225 employees, as well as additional technology and product lines used in transplant testing. Today, One Lambda has global distribution centers to service over 130 countries worldwide.

Advanced regenerative medicine powered by Tetramatrix™ platform, world’s first biostealth fluid matrix, transforming healthcare at the point of care.
Fostering a Global Ecosystem of Biomaterial Breakthroughs
Terasaki leveraged our biomaterial and mRNA delivery expertise to help perfect aspects of Tetratherix’s unique materials